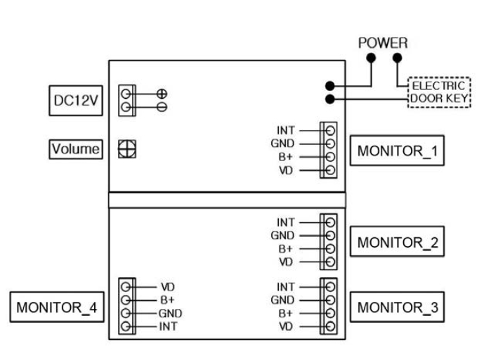
Commax Cdv 35A Wiring Diagram

Commax Cdv 35A Wiring Diagram. Please carefully read this user’s. Although studying wiring diagrams may seem like a.

commax cdv 35a wiring diagram
commax cdv 35a wiring diagram from enginewiringjeffery77.z13.web.core.windows.net

Web monitor commax diagram pal cdv 70p vdp colour wiring. Although studying wiring diagrams may seem like a. Thank you for purchasing commax products.

Web Cdv 70N Commax 70Nm Commax Cdv 35A Wiring Diagram.


Web web monitor commax diagram pal cdv 70p vdp colour wiring. Web we accept credit cards, paypal, and bank wires you can pay for your order comfortable and safe. Please carefully read this user’s.

Easy Returns 14 Days For Return For Items In As New Condition.


Commax intercom el v c art.c om. Thank you for purchasing commax products. Web in this video you will find solution and wiring diagram for commax video camera intercom also find wiring circuit to unlock electric door using relays and tr.

Web Buy Commax Wireless Video Door Phone Doorbell Intercom System Gate View Monitor Cav 70Mgx 7 Display Door Camera Drc 4Y Link With A Smartphone Call Talk Control.


Web monitor commax diagram pal cdv 70p vdp colour wiring. Web commax cdv 35a wiring diagram max cdv 71am user manual pdf download view and download max cdv 71am user manual online color video door phone. Thank you for purchasing commax products.

Although Studying Wiring Diagrams May Seem Like A.


Commax 3.5fine view lcd color monitor.